Jual Balluff BCS001L Capacitive Sensor
Kami PT. Raibung Delapan Sinergi Menjual BCS001L (BCS G06T4E1-PSM15C-EP02) Balluff Sensor di Indonesia. Produk yang kami jual merupakan produk baru dan Original dijamin keasliannya. Selain itu juga harga yang kami tawarkan sangat bersaing di seluruh indonesia. Dengan layanan cepat dan dukungan teknis profesional, kami siap memberikan solusi terbaik untuk kebutuhan alat berat, mesin, dan perlengkapan teknik lainnya. Selain type BCS001L (BCS G06T4E1-PSM15C-EP02), kami juga menyediakan pilihan produk lain yang sesuai dengan kebutuhan spesifik Anda.
Balluff BCS001L (BCS G06T4E1-PSM15C-EP02) Capacitive Sensor
Sensor BCS001L adalah perangkat dengan desain kompak dan fungsi canggih yang dirancang khusus untuk memenuhi kebutuhan berbagai aplikasi industri. Dalam artikel ini, kita akan membahas detail mengenai spesifikasi dari sensor yang kami jual ini.
Spesifikasi Teknis Sensor BCS001L Balluff
Sensor BCS001L memiliki spesifikasi teknis yang dirancang untuk berbagai aplikasi. Berikut adalah detailnya:
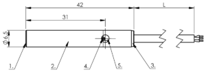
- Dimensi: Ø 6,5 x 42 mm
- Desain: Silinder tanpa ulir
- Pemasangan: Didesain untuk flush mounting
- Ukuran: D6.5
Dengan dimensi Ø 6,5 mm, sensor ini cocok untuk aplikasi yang membutuhkan perangkat berukuran kecil tanpa mengurangi performa.
Spesifikasi Teknis Koneksi Listrik Sensor BCS001L Balluff
Para perancang merancang sensor ini dengan perhatian pada detail teknis untuk memastikan keandalan dalam operasional. Berikut adalah spesifikasi koneksi listriknya:
- Panjang Kabel: 2 meter
- Penampang Konduktor: 0,14 mm²
- Jumlah Konduktor: 3
- Perlindungan Terhadap Pembalikan Polaritas: Ya
- Perlindungan Terhadap Kesalahan Perangkat: Ya
- Perlindungan Hubung Singkat: Ya
Kami merancang perangkat ini untuk mendukung koneksi yang andal dan aman dalam berbagai kondisi, seperti yang tertera dalam spesifikasi.
Material Cover: Kelebihan dan Keunggulan POM
Teknisi sering menggunakan POM (Polyoxymethylene) untuk material cover karena kekuatan dan ketahanannya. POM adalah material plastik teknik yang unggul dalam berbagai aplikasi industri.
Keunggulan POM untuk Material Cover
- Daya Tahan Tinggi: POM mampu menahan tekanan dan benturan tanpa mudah retak.
- Ketahanan terhadap Suhu: Material ini dapat bekerja optimal pada suhu tinggi maupun rendah.
- Anti Korosi: Cocok untuk lingkungan yang lembap atau bersentuhan dengan cairan.
- Permukaan Halus: Mempermudah proses finishing dan meningkatkan estetika produk.
Teknisi banyak menggunakan POM untuk komponen seperti penutup mesin, gear, dan produk yang membutuhkan presisi tinggi.
Housing Material: Kekuatan Stainless Steel 1.4301
Teknisi sangat sering menggunakan stainless steel 1.4301, atau grade 304, sebagai material untuk membuat housing komponen industri. Hal ini tidak mengherankan, sebab material ini memiliki reputasi tinggi dalam ketahanan terhadap korosi dan kekuatan mekanis.
Manfaat Stainless Steel 1.4301
- Anti Korosi: Sangat tahan terhadap karat, bahkan dalam lingkungan dengan kelembapan tinggi atau paparan bahan kimia.
- Kekuatan Mekanis: Mampu menahan beban berat dan tekanan tanpa mengalami deformasi.
- Higienis: Teknisi sering menggunakannya dalam industri makanan dan farmasi karena mudah dibersihkan.
- Tahan Lama: Material ini memiliki umur pakai yang panjang, sehingga mengurangi biaya perawatan.
Teknisi sering menggunakan stainless steel 1.4301 untuk membuat housing mesin, tangki penyimpanan, dan alat-alat yang dipakai di lingkungan keras.
Material Jacket: Keunggulan PUR untuk Perlindungan Maksimal
Material jacket sering menggunakan PUR (Polyurethane), yang dikenal fleksibel namun kuat. PUR sering digunakan untuk melapisi kabel dan komponen lain yang membutuhkan perlindungan ekstra.
Keunggulan PUR sebagai Material Jacket
- Fleksibilitas Tinggi: Material mudah dibentuk tanpa mengurangi kekuatannya.
- Tahan Abrasi: PUR memiliki ketahanan luar biasa terhadap gesekan dan goresan.
- Isolasi yang Baik: Cocok untuk melindungi kabel dari gangguan listrik dan mekanis.
- Ketahanan Cuaca: Tidak mudah terpengaruh oleh perubahan suhu ekstrem atau paparan sinar UV.
Material jacket PUR sangat ideal untuk aplikasi yang memerlukan perlindungan kabel dalam kondisi kerja yang berat. Selain itu, material ini juga banyak digunakan di sektor manufaktur dan konstruksi.
Material Permukaan Sensor: Ketahanan PTFE
PTFE (Polytetrafluoroethylene) adalah material unggulan untuk permukaan sensor karena sifatnya yang unik. Teknisi sering menggunakan material ini untuk aplikasi yang membutuhkan presisi tinggi dan ketahanan terhadap bahan kimia.
Kelebihan PTFE untuk Sensing Surface
- Non-Reaktif: Sangat tahan terhadap bahan kimia agresif seperti asam dan basa.
- Permukaan Licin: Mengurangi friksi, meningkatkan akurasi pengukuran sensor.
- Tahan Suhu Ekstrem: Berfungsi optimal di lingkungan dengan suhu sangat tinggi atau sangat rendah.
- Daya Tahan Lama: Material ini memiliki daya tahan lama: Meskipun kita menggunakannya dalam jangka waktu lama, material ini tidak mudah aus atau rusak.
Teknisi sering mengaplikasikan PTFE pada permukaan sensor yang digunakan di industri farmasi, otomotif, dan alat ukur presisi.

Spesifikasi Jarak dan Akurasi Sensor
Hysteresis Maksimal: Apa Itu dan Pentingnya dalam Pengukuran?
Hysteresis atau H max. adalah parameter yang menunjukkan perbedaan antara titik aktifasi dan titik deaktivasi sensor pada suatu siklus kerja. Dalam spesifikasi ini, nilai maksimalnya adalah 15% dari Sr (nilai referensi jarak kerja).
Jarak Pengukuran: Detail dan Kapasitas Sensor
Sensor dapat mendeteksi jarak secara akurat dalam rentang tertentu. Berdasarkan data, jarak pengukuran sensor ini berkisar antara 0,1 hingga 1,5 mm.
Jarak Operasional Terukur (Sn)
Kami menilai jarak operasional sensor ini sebesar 1,5 mm. Hasil penelitian menunjukkan bahwa jarak ini merupakan jarak optimal untuk performa terbaik sensor. Selain itu, temuan ini juga mendukung teori sebelumnya tentang efisiensi pengukuran.
Akurasi Pengulangan Maksimal (Repeat Accuracy)
Akurasi pengulangan menunjukkan seberapa konsisten sensor memberikan hasil pengukuran yang sama dalam kondisi yang sama. Kemudian sensor ini memiliki nilai akurasi pengulangan maksimal sebesar 2% dari Sr.
Drift Suhu Maksimal: Pengaruh Suhu terhadap Kinerja Sensor
Drift suhu adalah perubahan kinerja sensor akibat fluktuasi suhu lingkungan. Nilai drift suhu maksimal pada sensor ini adalah 15% dari Sr.
Balluff BCS001L (BCS G06T4E1-PSM15C-EP02) Capacitive Sensor
Balluff BCS001L Capacitive Sensor Datasheet: Balluff BCS001L Capacitive Sensor pdf
Baca juga: Jual BCS003K Balluff Capacitive Sensor
Pemesanan
Temukan berbagai pilihan sensor terbaru yang sesuai dengan kebutuhan industri Anda. Kami menyediakan tipe BCS001L (BCS G06T4E1-PSM15C-EP02) dan series lengkap lainnya dari balluff . Sensor ini dirancang untuk memberikan performa maksimal. Pastikan Anda mendapatkan produk dengan harga terbaik dan kualitas terjamin. Untuk informasi lebih lanjut dan penawaran harga, jangan ragu untuk hubungi marketing kami sekarang juga!
PT. Raibung Delapan Sinergi
Alamat: 18 OFFICE PARK BUILDING 12Th Floor Unit E
JL TB Simatupang No.18 RT 002 RW 001
KEL. Kebagusan KEC. Pasar Minggu, Jakarta Selatan
Email: info@raibungdelapansinergi.com
